二十一世纪的三重(Three-Winding)超线性放大器
左增军 / 2025-09-25
本文《三重超线性放大器》(Three-Winding Ultra-Linear Amplifier简称TWUL),是对目前市面上流行的、上世纪初固定下来的《超线性放大器》(UL Amp)的改进。为什么要对流行了近一个世纪的超线性电路做改进?就是因为时间已经过去近一个世纪,当初的设计目的已经很大成分不符合如今的要求了(春风不度离人枕,自有桃李傍新枝)。而且,我在没事儿(确实没事儿)闲逛的时候,看到很多懂或完全不懂电子电路的人们的帖子,说什么从超线性切换到三极管或五极管(标准放大)状态后,感觉听感提升几个档次~至于您是否喜欢或是讨厌超线性放大的声音,这里不做辩论,毕竟超线性放大有其一定的用户~很多品牌胆机都有超线性工作模式。加上有不少朋友从我这里拿超线性输出变压器更换成品胆机以后,反馈回来的信息,给我增加了改进经典的超线性放大器的念头。有人说电子管放大器在上世纪早已经成熟、完善,哪有什么改进空间。硬指标嘛什么失真小于小数点后几个零,频宽达到多少。但两台胆机放在一起现场来听,听感上的确有一点区别,且区别与指标好的关系不大。大家都知道我本人对表象并不在意,关注的是内核,所以我需要从本质上说起。
超线性(Ultra-Linear简称UL)放大器,也称作分布式负载(Distributed Load)放大,是到目前应用很普遍的一种单端、推挽放大电路的结构形式。不过说实话,我做三极管类比如2A3/300B/6C33C之类较多,四、五极管较少。我们都知道,三极管模式效率低,输出功率小,标准接法放大效率高,输出功率明显大,只是失真较大。大家都说超线性放大是用三极管的低失真拥有五极管的高效率,是发烧友常用的一种电路形式。
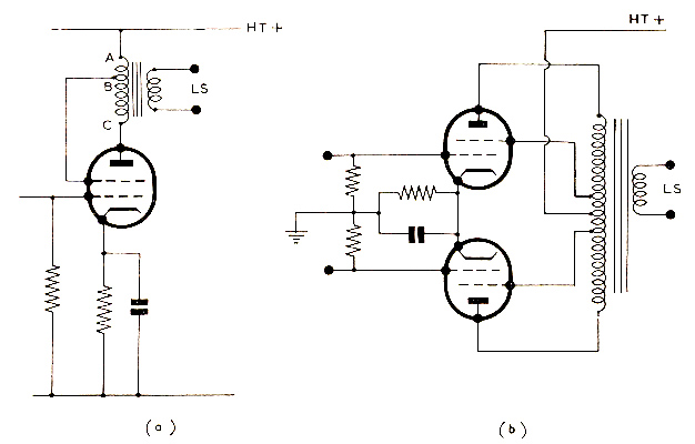
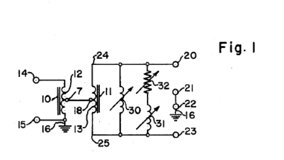
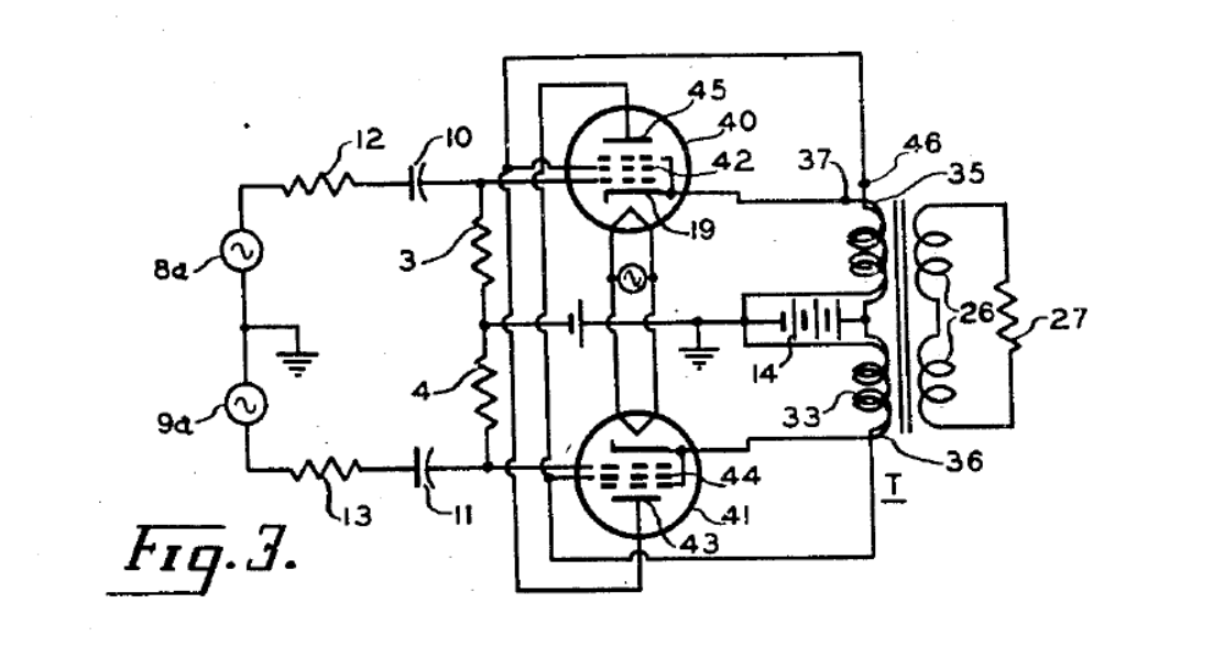
所谓超线性,其本身也并非线性,也是通过负反馈来获得比较满意的指标。因此仍然是弯曲的。“超”线性嘛,就是超出了线性^_^。功率管的帘栅极直接接在(或通过一两百欧姆的电阻)输出变压器初级绕组上,取得反馈的同时,也获得了直流电压。当然也有使用独立帘栅绕组的电路,比如下图,以及著名的麦景图(McIntosh)电路~说了几次要对麦景图电路写一篇专辑,多种原因未能完成发布,表示抱歉。
本级产生的失真本级来“解决”,这是自古正确的做法,通过环路反馈减小失真,本质上是让不失真的前级放大级,来放大失真的信号,更容易产生互调失真。这里举个例子:比如说生活中的洗碗,如果说吃饭后有2个碗盛主食(米饭或粥品),2个盘子盛炒菜之类。让我来收拾洗碗,我的做法是,单独把盛主食的碗清洗一下~这个比较简单容易清洗干净。对于有油污、盛炒菜的盘子,可以放在炒菜锅里一起刷洗(假如油污较大的也需要单独分开刷洗),用洗洁精、多冲洗几遍即可。我爱人则不然,要我把全部碗筷都放进炒菜锅里,然后一起刷洗~记得以前曾经说过这个例子。我的思维很简单,认为干净易清晰的碗扔进油污的锅里,会变得难以清洗。不知道您是如何做的呢?可能现实生活中很多人会像我爱人一样的做法。对于多级放大,我的宗旨是,充分做好每一级的性能和输入、输出电压摆幅余量,包括各级变压器(假如用的话),然后再级联统调,如有必要可用少量、适当的反馈改善阻尼及其他性能。很多人知道,很多年前我的电路设计经常有输出级的阴极反馈,其本质就是这个道理。大家知道为什么荷叶出于水而沾水吗?“出淤泥而不染”是表现在每一个本质的细节上,而非徒有虚名。部分图片来源于网络,如有侵权请联系我删除。
Ultra-Linear Amplifier一词,溯本求源,普遍认为来源于1952年 David Hafler(哈夫勒)和 Herbert Keroes (凯罗斯)在美国的专利申请(专利号2710312)。也就是Acrosound 系列胆机和变压器的创始人,并写了《超线性电路的理论和制作》(Theory and Operation of the Ultra-Linear Circuit)小册子,让今天的我们得以知晓其设计原理和概念。哈夫勒(Hafler)和凯罗斯(Keroes)在当时提出的概念包括超线性和分布式负载(Distributed Load)。
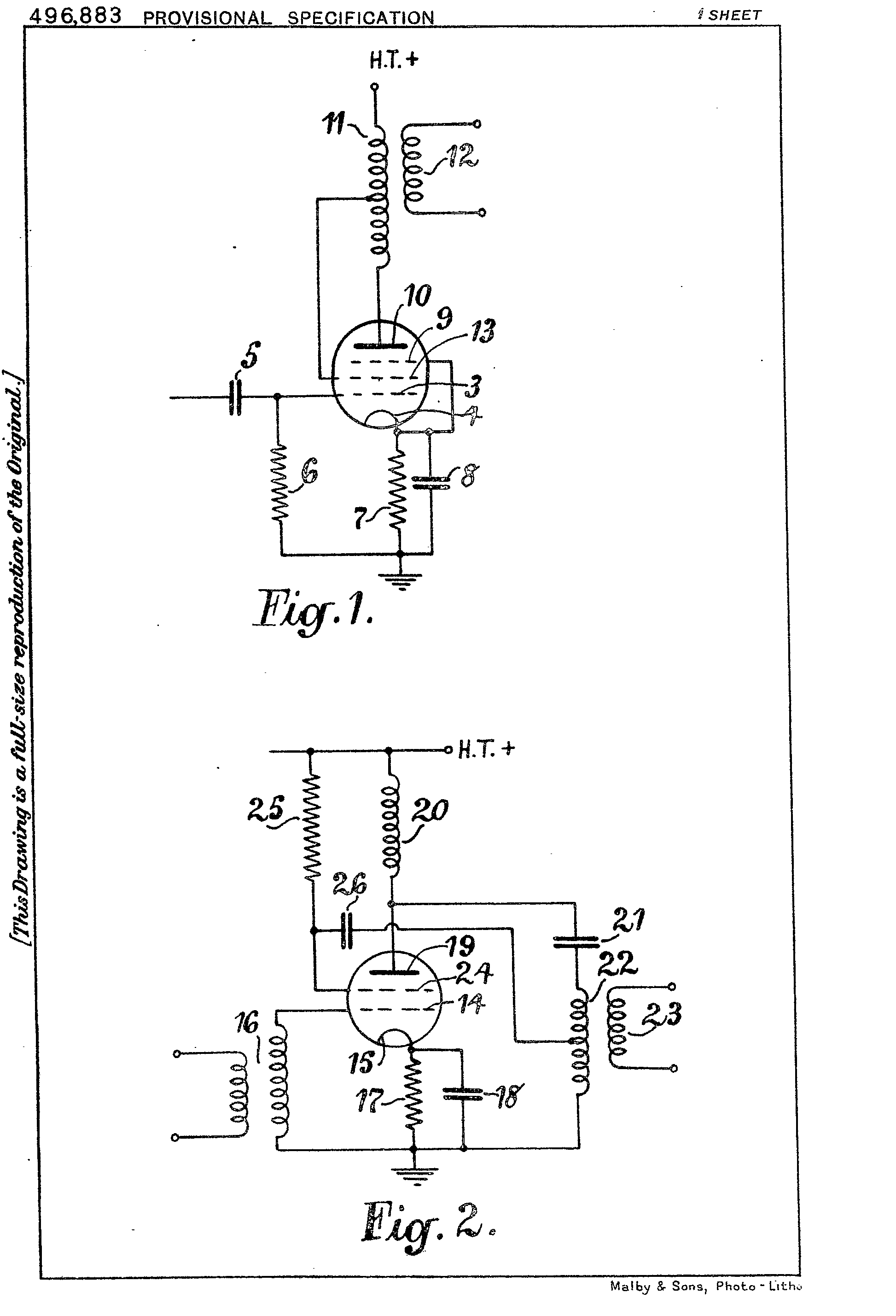
其实早在1936年,英国人Alan.D.Blumlein(艾伦·道尔·布鲁姆林)就已经发明了超线性放大的电路概念,并于1937年申请英国专利496,883(注意专利有效期至1953年,虽然布鲁姆林本人在1941失事于一场空难),Blumlien 的专利规定,最佳反馈抽头比为屏极交流电压的 25% 至 50% 之间,但是他在专利中没有使用“超线性” 或“分布式负载”这两个术语。注:布鲁姆林(Blumlein)是一位伟大的发明家,短暂一生发表了很多专利,其中包括他发明了立体声系统(1931 年,英国专利394,325)还有长尾倒相电路(1936 年),以及太多有影响的电路结构等。
后来(1951)Acro USA 的 D. Hafler 和 HI Keroes后来进行了详细的研究,证明了对于6L6系列(包括5881、807和KT66)和6V6系列,帘栅极的最佳反馈电压比。比如6L6、807 和 KT66采用43% 匝数或18.5%负载阻抗,6V6 系列更喜欢 22.5% 匝数或5%负载阻抗。这一比例后来得到了包括GEC/MOV、 GE USA 和 RCA的认可。有些网友认为,43%抽头,是因为超线性变压器采用7段绕组结构的一段连接处,正好是43%位置,或许是出自TubeCAD的观点。
也许是商业行为的缘故,著名的Williamson(英国 MO Valve 公司)和 PJ Walker(Quad Audio)于 1952 年9月在《Wireless World》杂志上撰文,称 Hafler 和 Keroes 的发明为“分布式负载(Distributed Load)”操作,并驳斥了 Acrosound 专利中的权利要求,称五极管操作和阴极反馈设计(如 Quad II 放大器)都更胜一筹。有一些经典名机就是摒弃超线性而用标准五极管工作模式,比如我之前的文章介绍DENOC 6GB8 100W胆机。。
有趣的是,原威廉姆森三极管连接式放大器后来被哈夫勒(Hafler)和凯罗斯(Keroes)修改为超线性设计。并于1952年6月出版的《Audio Engineering》(音频工程)杂志上发表了题为《Ultra-linear operation of the Williamson Amplifier》(威廉姆森放大器的超线性操作)的论文,其中提供了详细的说明。尽管威廉姆森本人并不认同这一设计理念,但似乎超线性的威廉姆森电路依然很流行。
David Hafler 于 1954 年离开 Acrosound(这是他们的联合专利以 Acro Products Company 的名义实际授予的前一年),并于 1955 年与 Ed Laurent 一起成立了世界闻名的Dynaco公司。到1955年,Acro Products 拥有的超线性设计专利已授权给包括Dynaco、Eico、Fisher、Harmon-Kardon、Marantz 和 Scott等专业音响制造商,还包括 Altec-Lansing、Ampex 和 Fairchild等。Acrosound设计的6146(FU-46)电子管100W电路无疑是一代经典:
到1956年11月,MO Valve Co/GEC推出 KT88 时,并没有超线性抽头的应用,仅仅提供三极管和五极管应用数据。再翻阅RCA电子管手册1959-1964 年,针对 6973、7027 和 7868 型管子,描述为“每个管子的栅极 #2 连接到输出变压器板绕组上的抽头,以便为每个输出管的栅极 #2 提供 43/50% 的板信号电压。德律风根 (Telefunken) 和飞利浦 (Philips)(Mullard UK 的母公司)似乎都没有在其电子管手册或数据表中提及超线性或分布式负载概念。直到1972年,美国通用电气公司(GE USA)在其6550A产品规格书中使用了“超线性”一词。
为满足超线性电路应用的需要,部分电子管品牌做了针对性开发,比如GEC的KT88,主要加强了第二栅的耐压。
然而限于第二栅的结构特性,其耐压应该远低于屏极(观察下电极距离):
在实际的超线性电路中,第二栅极电压肯定是高于阳极电压的,这将导致B+供电电压不能很高、第二栅极电压经常超过手册允许电压值,这很容易产生自激现象。有人说,电子管参数有1-2项指标超过没有问题,这可能是国人为自己的行为找的最好的借口。
还有,目前谈及超线性抽头,对于常见型号普遍定义为43%。主要根据是部分文章、部分测试结果确认在40-50%抽头时,输出功率最大、失真最小~这是那个时候最为关注的硬性指标。关注听感特性的比重较小,因为大多都没有提及听感问题,简单的认为指标好就理所当然的听感好,当时的威廉姆森(Williamson)放大器以0.1%的失真而闻名。
没错,指标好、深度负反馈带来的稳定、牢固、“性能好”造就了一批经典名机,比如麦景图275、QUAD II等,不知您是否实际听过、对比过原机的声音表现?有机会的话可以认真听听、感受一下。我之所以这样说,是因为我维修过太多太多“名机”变压器和胆机自然也就有机会听和对比。我们不能否认这些名机带给今天的我们的“享受”,不得不佩服在上世纪那个年代,能有如此经典的胆机留给如今的我们参考。
有句话很有道理:从见山是山,到见山不是山,然后再到见山还是山,这就是走向成熟。
现在,我来说说本文主题《二十一世纪三重超线性(Three Winding Ultra-Linear简称TWUL)设计》。我研究了David Hafler 和 Herbert Keroes 的专利和Acrosound 手册,以及后来Hafler成立Dynaco公司后的专利,还有麦景图的申请及购买的全部专利。再多说一句,几乎大部分美国、英国音频变压器、电子管放大器的专利技术,我差不多都查看过了,下面列表只是少部分目录和相关图片:
电路设计部分专利:
下面是专利内容包含的图片:
这是一些相关图片,太多了,不能全部贴出来,有需要的朋友可以联系我。
超线性电路因为普遍使用43%的抽头,也就是有将近一半的反馈,致命的问题是,配套超线性输出牛初级电感不能有较大电感(单端牛略好一点,推挽牛严格一些),也就是初级圈数不能很多,否则因为反馈量较大造成自激且不容易消除。初级电感不能大,证明开环情况下电路低频和动态不够,因为负反馈,低频指标不是问题,但实际播放音乐的动态则变差,比如说击鼓声变硬而深度和弹性变弱。如何理解呢?变压器初级电感小,也就相当于功率管的负载变小,负载变小相对来说对低频的放大量变小,相对低频的表现变差。就目前大部分超线性应用的输出牛来讲,只要超线性应用没有出现自激,基本上初级电感都较小(开环状态测试看看)。有人可能说我低频测试很好就得了,干嘛要那么大电感?看下图,这是Mullard经典的5-20放大器频响测试图,无反馈时参考loop gain曲线,-3dB衰减时大约55Hz~4.5kHz,按照当时的变压器制作技术也算差不多了。当施加-30dB的反馈后,-3dB衰减时,达到了2Hz~50kHz,且低频3Hz时有凸起。看到这些数据您联想到了什么?我们要求好的变压器、好的电路干嘛?只要足够的反馈,神马都是浮云?原来的手机照相只是美颜,现在的软件修饰可谓彻底改变。屏幕上的你还是你吗?这种特效网红喜欢,但有的人麻烦。。。

这里顺便说一下,像Mullard 5-20放大器这样有-30dB甚至更多反馈量(包括超线性和环路反馈)的经典胆机有很多,其所以成为经典,主要得益于其产品的稳定(稳定性得益于负反馈)以及认真负责、精致扎实的做工(看看那些经典在内部细节上的做工,虽然外表平平)。论声音表现方面,首先我不够资格,不敢冒天下之大不韪,对其表现指点。本来声音就是人性化的,每个人的爱好、经历不同,感受也不同,甚至相差很多。以我个人的听感,我还是喜欢那些自然表现的声音,不趾高气昂,不矫揉造作,自然、松弛的感受。“天意无佗只自然,自然之外更无天”。不知道各位居家会不会这样:每天紧闭门窗,室温依靠空调。尤其是近期北方的多雨天气,可能有一些人家会是这样。那天在楼梯遇到楼上邻居,说找人修空调,因为整天开着空调,空调温度都调到20度了,感觉还是不凉快,有些热,空调吹出来的风都是雾状,平均每天耗电22度,还是热的感觉。我有些纳闷,这是怎么回事?您知道这是为什么吗?我没有去问楼上邻居是否处理好了,自己上网搜了一下为什么,首先肯定他家的空调没有问题,因为有一定的耗电量。制冷效果不好,感觉不凉快的关键是,室内空气湿度大(空调风成雾状)。应对方法是,空调改除湿模式,最好在晴天儿开窗通风。还记得前几年隔壁楼上起火,消防车来了两辆,虽然没有太大损失,但是楼上楼下的损失还是要赔偿的。究其原因就是整天开着空调,主人说空调基本没关过(不差钱儿!),因为插座部分接线老化引起着火。这真是因为贫穷限制了我的思维,我开空调只是短时应对,平时注意开窗通风。不好意思扯了这么多现实,我想说:采用深度负反馈得到好指标的胆机,就像整天开空调调整室温的情况一样,人为的得到看似好的状况,拒绝自然,我认为是不正确的。
春有百花秋有月,夏有凉风冬有雪。
平常之心是常道,道法自然身心悦。
老话说,小满胜万全。有些看上去完美的,可能暗藏玄机。
蚊蝇逐光亮处飞,频频闯到门窗灰,
美好生活都向往,可惜常被眼见累。
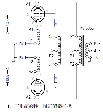
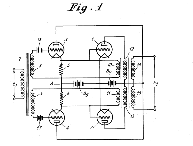
我改进的三重超线性(Three-Winding Ultra-Linear)电路见下图,超线性输出变压器(Three-Winding Transformer)由一组屏极绕组、一组第二栅绕组、一组阴极绕组构成。除了变压器制作上复杂一些,其他都从兼顾指标和听感上考虑。大家可以看到,推挽电路的结构近似经典的麦景图275,只是优化了反馈量和屏极比重。中医认为:相同的配方,搭配不同的剂量,治病效果大有不同。
《三重超线性》电路所用的超线性输出变压器,由主绕组也就是屏极回路绕组,和辅助绕组组成。主绕组P1/P2端接输出管的屏极,G1/G2端接帘栅极,k1/K2端接输出管的阴极,B1接高压端B+,B2根据需要接二栅合适的电压(当然您也可以按照之前习惯与B1接在一起,简单方便),您就直接按照标记对应接线即可。这样帘栅绕组独立于屏极绕组后,首先其供电电压不受阳极电压牵连和波动,可以按照手册规定的电压值,从帘栅极特性看,B2也可以使用稳压供电,另外反馈网络不受屏极电流影响。加之这样处理更符合“分布式负载(Distributed Load)”设计理念。第三绕组是阴极绕组,用作阴极反馈用,也可以做独立的环路反馈或者耳机输出用。
大家看到,推挽输出的阴极绕组与其他两个绕组不同,是独立分开的,一方面用于阴极反馈时,可分别监测上下两臂电子管的电流。也可以灵活方便的用作他用。另外各绕组为了画图方便、简单,并未按照相位要求画图,不整那么神秘、高大上,直接、简单、明了这也是我的风格。
《三重超线性》输出变压器,两个辅助绕组所占的比例:帘栅组、阴极组,我的设计理念是,使用较小的总反馈量,获得较为满意的输出特性。帘栅极绕组的比例在8-15%左右,假如电子管工作在A类放大,此比值要小一些。如果工作在AB类或者电子管的失真较大,可以适当大一点。阴极反馈绕组基本等于次级8欧姆,这样阴极只有较小的-2dB左右的反馈,也不挤占输出变压器较多空间,让出更多比重用于主绕组和输出次级端,以获得更好的表现。
《三重超线性》输出变压器,因为不靠反馈来改善指标,所以自身指标需要过硬,失真、频宽甚至插入损失等需要很高。当然,不能以这些指标评判输出牛,关键离不开音响的目的是为“听”众服务的,而不是仪器。看过tubelab网站的一篇文章说:
Many output transformers (especially the Chinese ones found on Ebay) are specified at 1000 Hz. This is pretty useless for approximating performance with music.
他还说:
If I had only one ruler to measure OPT performance it would be weight.
这些说法虽然有些片面,的确也反应一些现象。好的输出变压器不能仅看公布的一些指标,最好是自己实际对比试听。现在的环境,条件很适合我们,“七天无理由”完全可以知道什么样的变压器适合自己。
这里的关键是多绕组的输出变压器,麦景图MC275推出年代大约是1961年,其输出变压器是多线并绕,虽然是全世界公认的经典胆机,发烧友梦寐以求。但只是输出牛容易损坏。我本人维修重绕过很多对不同时期的麦景图输出牛,就是简单多线并绕。
这里给大家普及一下变压器多线并绕的安全性:绕组使用的漆包线,无论国标还是国际标,漆包线标准有温度和耐压等级。就简单说下这里涉及到的耐压等级:
不同绝缘介质其耐压强度、耐高温强度也不同,分别用不同的型号表示。无论是什么型号的漆包线,型号后面有个-1、-2,通常代表几层漆包线。也就是说,铜线拔丝出来,经过“浸”绝缘漆的遍数,一遍就是1层漆,型号后面-1,2遍就是2层漆,型号后面-2。目前常用的都是-2的型号。上图是QZ高强度漆包线标准,耐压从300V-2500V。下面是耐压要求较高的3层绝缘漆包线:
这是日本古河3漆层漆包线
这是德国Elektrisola公布的IEC标准,常用规格漆包线3层绝缘耐压4-5000V左右。
下面是英国的漆包线规格
可以看到,3层绝缘的漆包线的确耐压提高一些,漆皮厚度相应增加,也就是总的漆包线直径加大。注意:上述耐压值,我只能说是检测值或者是理想情况下的绝缘强度,对于绕制工艺中出现的挤压、摩擦、弯折等“伤害”,漆包线的耐压值明显下降,这个在制作中需要引起重视。上面我们看到漆包线因为绝缘介质不同,其耐压等级也不同。有些材料特性耐压高,但分布电容大,高频损耗大,认真来讲并不适合做输出变压器,比如说输出变压器需要用QA型而不要用QZ型。相对而言,漆包线直径越细耐压越低,这一点需要特别注意。市面上的部分推动牛,采用很小的EI-58到EI-66铁芯,很细的常规漆包线双线并绕1:1的圈数一根线做初级,一根线做次级,我只能说有人敢做有人敢用,烧管子只有自己承担,尤其是用于电压高的电路,比如300B推845的推动牛,部分出现红屏等问题的用户找到我更换。多线并绕变压器我也推荐,但用料、做法有别。对了这边顺便说一下,我二十年前直到如今的部分胆机,大部分灯丝连线都是用合适直径的漆包线绞合连接,这样可以获得更好的低噪音效果。大家都知道我本身就是做变压器,任何规格、型号的漆包线手边都有,这很方便实用。
这里省略几张图,避免不必要的麻烦。。。
我本人多年来为麦景图275维修输出变压器,起初并不像现在这样方便,市面上并没有这种高耐压、高频特性好的漆包线出售,只是我跟漆包线厂多年的关系,可以加价安排做3层甚至4层绝缘层,但是应该是其他条件不过关,厚漆层线绕制时容易崩裂,3漆层漆包线比较好用。即便如此,绕制时也需要谨慎小心,加上细心应对绕制的每一步。到目前为止,并没有经我手维修的275输出牛击穿返修现象。
根据多年积累的变压器绕制经验,目前材料和技术,对于B+电压在800VDC的胆机电路,完全可以放心使用多线并绕技术。大家知道我做事比较谨慎,没有确定把握的事情不会乱说。假如是大于800V供电的高压电路,对应的输出变压器需要特殊处理(不要看上面那些耐压可以达到5000V以上,完全可以用于任何电压的功率管),比如813、FU-80等功率管,以便更好、更稳定的运行。
不知不觉好像写的有些多了,先到这里,休息休息。
为方便大家理解和感受这种《三重超线性》(Three-Winding Ultra-Linear Amplifier)效果,我期待有您的参与。一个人的能力是有限的,大家的力量是无穷的。我制作了5对20W《三重超线性》单端、5对60W《三重超线性》推挽输出牛,如果您有兴趣,可联系我,我本人负责来回快递、包装费用,您只需要用我提供的双头连接的鳄鱼夹,接到您手头的胆机上试听即可。如果您能撰写文章把自己的真实感受写出来,我另外付给您300元费用~这里不涉及商业行为,只是从实际角度出发,验证一下这种低反馈量的三重超线性电路的效果。